Productinformatie
-
Technische gegevens
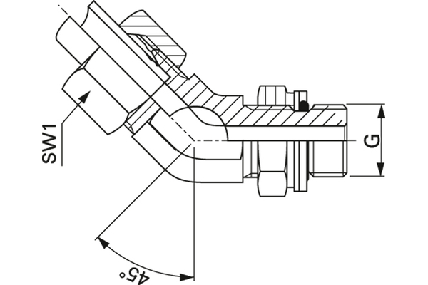
Bedrijfsdruk [bar]: 315 Barstdruk [bar]: 1260 Leidingdiam. R [mm]: 8 Schroefdraad [G1]: M16 x 1,5 Schroefdraad [G2]: G 1/4" Serie: S O-Ring 1: 10,77x2,62 SW1 [mm]: 19 SW2 [mm]: 19 SW3 [mm]: 19 Aansluitingmethode 1: Metrisch 24° Aansluitingmethode 2: Duims Beschrijving: Instelbare gebogen koppeling 45°, inchmaaten, met O-ring en contramoer Bestendigheid tegen roodroest [h]: 1000 Bestendigheid tegen witroest [h]: 500 Materiaal: Staal Oppervlak: Cr(III) Uitvoering: Hoek 45°

