Productinformatie
-
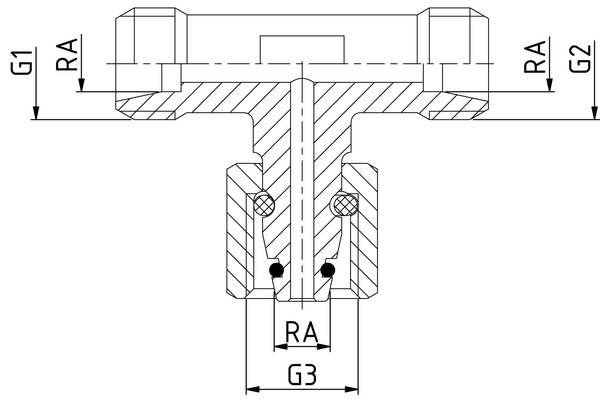
Technische gegevens
Bedrijfsdruk [bar]: 315 Barstdruk [bar]: 1260 Leidingdiam. R [mm]: 38 Schroefdraad [G1]: M52 x 2 Schroefdraad [G2]: M52 x 2 Schroefdraad [G3]: M52 x 2 Serie: S O-Ring 1: 33,3x2,4 SW1 [mm]: 50 SW2 [mm]: 60 Schroefdraad [G]: M52 x 2 Aansluitingmethode 1: Metrisch 24° Aansluitingmethode 2: Metrisch 24° Materiaal: Automatenstahl Oppervlak: ZnNi Uitvoering: T-Form

