Productinformatie
-
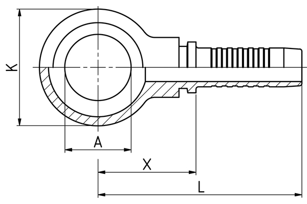
Technische gegevens
DN: 19 Size: 12 Inch: 3/4 Schroefdraad + norm: Ringnippel conform DIN 7642 voor metrische holle bouten X [mm]: 38,0 L1 [mm]: 82,3 Ringnippelboring [mm]: M26 Buitendiameter ringnippel K: 46,0 A: 26,1 Aansluitingaanduiding Indunorm: MRN Aansluitingmethode: RGN Armaturenserie: Universeel programma XV Bestendigheid tegen roodroest [h]: 144 Bestendigheid tegen witroest [h]: 72 Materiaal: Automatenstaal Oppervlak: Cr3 Uitvoering: 0°

