Productinformatie
-
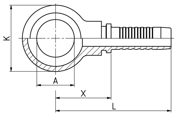
Technische gegevens
DN: 10 Size: 6 Inch: 3/8 Schroefdraad + norm: Ringnippel conform DIN 7642 voor metrische holle bouten X [mm]: 32,3 L1 [mm]: 62,8 Ringnippelboring [mm]: M18 Buitendiameter ringnippel K: 32,0 A: 18,1 Aansluitingaanduiding Indunorm: MRN Aansluitingmethode: RGN Armaturenserie: Universeel programma XV Bestendigheid tegen roodroest [h]: 144 Bestendigheid tegen witroest [h]: 72 Materiaal: Automatenstaal Oppervlak: Cr3 Uitvoering: 0°

