Productinformatie
-
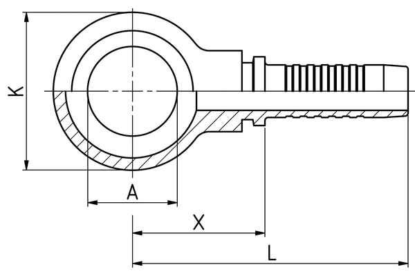
Technische gegevens
DN: 08 Size: 5 Inch: 5/16 Schroefdraad + norm: Ringnippel conform DIN 7642 voor metrische holle bouten X [mm]: 28,1 L1 [mm]: 54,6 Ringnippelboring [mm]: M12 Buitendiameter ringnippel K: 20,0 A: 12,1 Aansluitingaanduiding Indunorm: MRN Aansluitingmethode: RGN Armaturenserie: Universeel programma XV Bestendigheid tegen roodroest [h]: 144 Bestendigheid tegen witroest [h]: 72 Materiaal: Automatenstaal Oppervlak: Cr3 Uitvoering: 0°

