Productinformatie
-
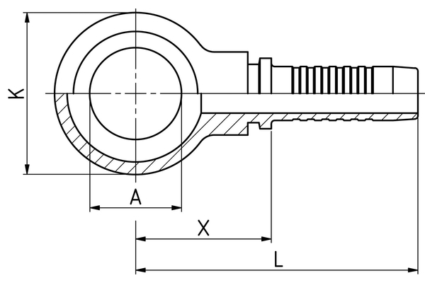
Technische gegevens
DN: 06 Size: 4 Inch: 1/4 Schroefdraad + norm: Ringnippel conform DIN 7642 voor metrische holle bouten X [mm]: 28,3 L1 [mm]: 54,8 Ringnippelboring [mm]: M12 Buitendiameter ringnippel K: 20,0 A: 12,1 Aansluitingaanduiding Indunorm: MRN Aansluitingmethode: RGN Armaturenserie: Universeel programma XV Bestendigheid tegen roodroest [h]: 144 Bestendigheid tegen witroest [h]: 72 Materiaal: Automatenstaal Oppervlak: Cr3 Uitvoering: 0°

