Productinformatie
-
Technische gegevens
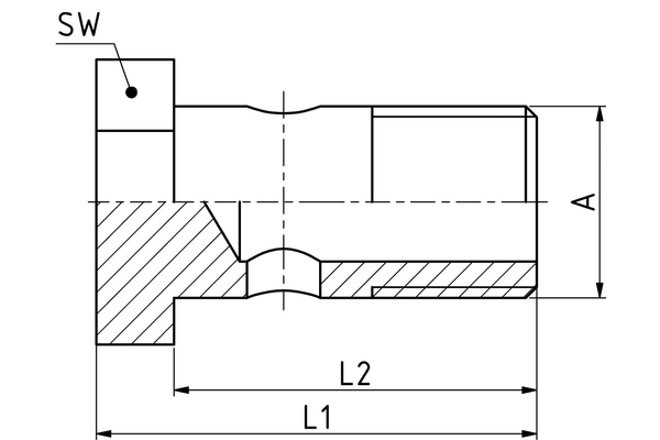
Schroefdraad + norm: Holle bouten Aansluitingschroefdraad A: 5/8" L1 [mm]: 40,2 Thread: G 5/8" SW1 [mm]: 30 Aansluitingaanduiding Indunorm: BMG Aansluitingmethode: Holle bout duims Armaturenserie: Universeel programma XV Bestendigheid tegen roodroest [h]: 144 Bestendigheid tegen witroest [h]: 72 Materiaal: Automatenstaal Oppervlak: Cr3

