Productinformatie
-
Technische gegevens
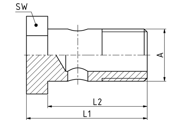
Schroefdraad + norm: Holle bouten Aansluitingschroefdraad A: 3/8" L1 [mm]: 32,9 Thread: G 3/8" SW1 [mm]: 22 Aansluitingaanduiding Indunorm: BMG Aansluitingmethode: Holle bout duims Armaturenserie: Universeel programma XV Bestendigheid tegen roodroest [h]: 144 Bestendigheid tegen witroest [h]: 72 Materiaal: Automatenstaal Oppervlak: Cr3

