Productinformatie
-
Technische gegevens
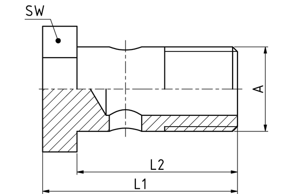
Schroefdraad + norm: Holle bouten Aansluitingschroefdraad A: 1/4" L1 [mm]: 27,8 Thread: G 1/4" SW1 [mm]: 19 Aansluitingaanduiding Indunorm: BMG Aansluitingmethode: Holle bout duims Armaturenserie: Universeel programma XV Bestendigheid tegen roodroest [h]: 144 Bestendigheid tegen witroest [h]: 72 Materiaal: Automatenstaal Oppervlak: Cr3

