Productinformatie
-
Technische gegevens
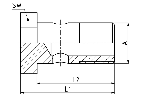
Schroefdraad + norm: Holle bouten Aansluitingschroefdraad A: 1/8" L1 [mm]: 24,0 Thread: G 1/8" SW1 [mm]: 14 Aansluitingaanduiding Indunorm: BMG Aansluitingmethode: Holle bout duims Armaturenserie: Universeel programma XV Bestendigheid tegen roodroest [h]: 144 Bestendigheid tegen witroest [h]: 72 Materiaal: Automatenstaal Oppervlak: Cr3

