Ons servicenummer:

+49 2845 2950-0

Wij kijken uit naar uw bericht!

Contactformulier

Inloggen bij de InduShop:

Aanmelden
Speciale aanbieding
Van 29-04-2026 naar 01-07-2026
  • Welkom bij Indunorm Hydraulik | Alleen voor professionals
  • 5€ Vroegbestelkorting
  • Gratis levering vanaf 250€
  • Technisch advies

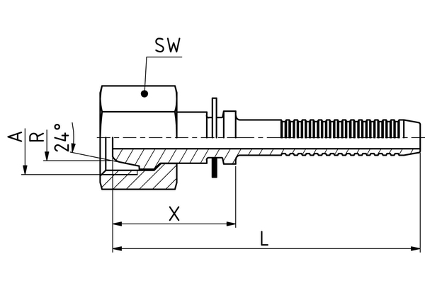
DKS (XJ)

Gegevens

Artikelnummer
DN
04
06
06
Size
2
4
4
Inch
1/8
1/4
1/4
Schroefdraad + norm
Afdichtkegel met wartel, zware uitvoering
Afdichtkegel met wartel, zware uitvoering
Afdichtkegel met wartel, zware uitvoering
Aansluitingschroefdraad A
M16x1,5
M16x1,5
M18x1,5
Leidingdiam. R [mm]
8
8
10
X [mm]
20,2
25,0
25,3
L1 [mm]
48,8
59,7
60,3
SW1 [mm]
19
19
22
Aantal
 

Standaard nominale maten in vetgedrukte uitvoering

Productinformatie

  • Technische gegevens
    Aansluitingaanduiding Indunorm: MSF
    Aansluitingmethode: DKS
    Armaturenserie: 700 bar-gereedschappenhydrauliekprogamma XJ
    Bestendigheid tegen roodroest [h]: 144
    Bestendigheid tegen witroest [h]: 72
    Materiaal: Automatenstaal
    Oppervlak: Cr3

Naast Indunorm-producten distribueren we ook merkproducten: