Productinformatie
-
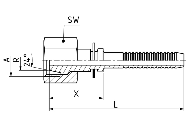
Technische gegevens
DN: 06 Size: 4 Inch: 1/4 Schroefdraad + norm: Afdichtkegel met wartel, lichte uitvoering Aansluitingschroefdraad A: M14x1,5 Leidingdiam. R [mm]: 8 X [mm]: 22,0 L1 [mm]: 56,9 SW1 [mm]: 19 Aansluitingaanduiding Indunorm: MSF Aansluitingmethode: DKL Armaturenserie: 700 bar-gereedschappenhydrauliekprogamma XJ Bestendigheid tegen roodroest [h]: 144 Bestendigheid tegen witroest [h]: 72 Materiaal: Automatenstaal Oppervlak: Cr3

