Productinformatie
-
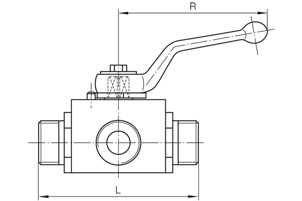
Technische gegevens
DN: 25 Bedrijfsdruk [bar]: 400 Schroefdraad + norm: Voor soldeervrije leidingschroefkoppeling, DIN 2353, lichte uitvoering, ISO 8434-1 Aansluitschroefdraad [GA]: M36x2,0 Leidingdiam. R [mm]: 28 L [mm]: 108 Kruklengte [R] [mm]: 187 B [mm]: 65 SW [mm]: 50 SW1 [mm]: 14 H1 [mm]: 31,0 H [mm]: 65 Boring: L GL [mm]: 14 Materiaal behuizing: Staal Materiaal schakelas: Staal Materiaal schakelasafdichting: NBR Materiaal schakelkogel: Staal, hardverschroomd Materiaal schakelkogelafdichting: POM

