Produktinformationen
-
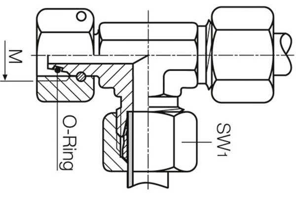
Technische Daten
Betriebsdruck [bar]: 160 Berstdruck [bar]: 640 Rohr-Ø R [mm]: 35 Gewinde [G1]: M45x2 Gewinde [G2]: M45x2 Gewinde [G3]: M45x2 Baureihe: L O-Ring 1: 32x2,5 SW1 [mm]: 41 SW2 [mm]: 50 Anschlussart 1: Metrisch 24° Anschlussart 2: Metrisch 24° Bauform: L-Form Beschreibung: Einstellbare L-Verschraubung, vormontiert, O-Ring abdichtend Beständigkeit gegen Rotrost [h]: 1000 Beständigkeit gegen Weissrost [h]: 500 Material: Stahl Oberfläche: Chrom III

